Alfa Laval ensures top quality – for beer and tank cleaning alike
The Alfa Laval TJ20G Rotary Jet Head with the Alfa Laval Rotacheck Basic tank cleaning validation system ensures hygienic cleanliness and massive savings for an Eastern European brewery.
DATE 2023-11-28
The company Gross Behälter- und Anlagenbau GmbH has delivered 39 fermentation tanks, with capacities of 310 to 380 hectolitres, and 74 storage tanks, with capacities of 200 to 600 hectolitres, to a growing Eastern European brewery. This supply is in addition to the 25 tanks that have already been installed. All of the tanks are equipped with an Alfa Laval TJ20G tank-cleaning machines and Alfa Laval Rotacheck Basic tank cleaning validation devices. This modern cleaning technology has significantly reduced the cleaning time, as well as energy, water and cleaning agent consumption.
Quality and precision come first
For Gross Behälter- und Anlagenbau GmbH, quality and precision come first. High-quality materials, advanced manufacturing technologies, outstanding engineering, and longstanding experience and expertise are some of the hallmarks of this company with its head office in Steißlingen, a town on the edge of Lake Constance in the German state of Baden-Württemberg. This manufacturer of stainless steel solutions has also gained a worldwide reputation for its specialized tanks for the food, beverage and pharmaceutical industries as well as for its bespoke production, covering everything from project planning to delivery.
A two-stage journey towards an ultramodern fermentation and storage cellar
Since 2013, a prestigious Eastern European brewery has relied on Gross’s fermentation and storage tanks in order to meet the high-quality demands of its own beers. The company is world-renowned for its quality bottom-fermented beers, which are produced using a traditional brewing method and without any preservatives. After only a few initial trial runs, the brewery assured itself of the quality and reliability of Gross’s tanks. As a result, the brewery decided to call on Gross again in 2014 to replace some of its existing tanks and to expand the capacity of the maturation and storage tanks for its high-quality barley brew.
The first stage of the project involved installing some twentynine 310-hectolitre tanks as well as ten 380-hectolitre ones in a fermentation cellar. In stage two, a total of 74 horizontal tanks, with capacities of between 200 and 600 hectolitres and an operating pressure of 1.2 bar, were put into operation in the cellar. This commissioning needed to be performed concurrently with the replacement of a somewhat outdated cleaning system in the 25 existing tanks with 25 modern cleaning machines.
Alfa Laval TJ20G Rotary Jet Head tank-cleaning machines and Alfa Laval Rotacheck Basic tank cleaning validation systems effectively clean all storage tanks at this major brewery in Eastern Europe, saving time and money.
A tank-cleaning challenge: Efficient delivery of hygiene standards
In the past, the brewery cleaned its tanks with conventional static spray balls, which led to the creation of a bottleneck as production volumes increased. In order to ensure the tanks were effectively cleaned, not only did the brewery have to rely on a relatively high number of static spray balls and a resulting large water consumption and long cleaning time, but also the manual cleaning steps were also difficult to verify.
The new cleaning-in-place (CIP) solution was designed to implement a fully automated and technically traceable cleaning process and, thereby, to ensure the quality of the tank contents at all times – especially with regard to high international hygiene standards. The new solution also utilizes, where possible, identical cleaning devices in tanks of varying sizes in order to ease maintenance and stocking of spare parts.
Gross selected Alfa Laval as a partner for its proven tank cleaning technology. “Not only were we familiar with the efficiency and reliability of Alfa Laval’s cleaning machines after many years of shared project experience,” says Peter Gross, Managing Director at Gross. “We also knew that we’d work together to find the ideal hygiene solution for our client’s major project – and be on time and within budget.”
3D jet cleaning with the Alfa Laval TJ20G Rotary Jet Head
During a lengthy trial run, the Alfa Laval TJ20G Rotary Jet Head scored top marks on all the performance criteria, prompting the brewery’s decision to replace its conventional static spray balls with the Alfa Laval rotary jet head technology. At present, a total of 160 Alfa Laval TJ20G Rotary Jet Heads deliver reliable hygiene at the highest cleanliness standards in all tanks, new and retrofitted alike. Depending on the capacity, one or two fixed Alfa Laval TJ20G Rotary Jet Heads clean the tanks between batches.
The self-cleaning rotary jet heads are driven and lubricated by the cleaning medium itself, which prevents any lubricants, such as oil or grease, from ending up inside the tank during the cleaning process. Cleaning fluid pressure, set to approximately 5 bar, causes the rotary jet head to rotate around the vertical and horizontal axes over a specified time period. Through eight cleaning cycles, the 3D rotation pattern, which becomes progressively denser, ensures that the jets delivered from the nozzles of the rotary jet head reach the farthest corners of the tank wall. The images below show the cleaning process inside a cylindrical, horizontal tank. While the initial cleaning cycle only roughly distributes the fluid, the subsequent ones result in the denser cleaning pattern, shown in the second image.

Alfa Laval TJ20G Rotary Jet Head cleaning cycles. The initial cycle (left) distributes the first layer of cleaning fluid. Subsequent cycles result in the denser cleaning pattern and complete coverage (right).
Proven effectiveness due to Alfa Laval Rotacheck Basic
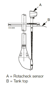
Every tank is fitted with an Alfa Laval Rotacheck Basic system in order to verify the cleaning rotation pattern of the rotary jet head and, thus, the effectiveness of tank cleaning during operation. Using the Alfa Laval Rotacheck Basic sensor with an integrated pressure transducer, the brewery's control system checks the frequency of jet impact in comparison to reference data collected during startup in the PLC. Relying on the signal from the Alfa Laval Rotacheck Basic the control system calculates values in an acceptable range within which the tank-cleaning device is supposed to operate. During cleaning, the integrated pressure sensor provides analogue feedback about the cleaning progress, which is monitored online and continuously compared to the stored acceptance range. This procedure enables rapid response in case of any deviation from the specified limit – for example, when the system fails to produce the required water pressure because of a pump failure or power outage. This allows the cleaning effectiveness to be demonstrated seamlessly at all times, making the Alfa Laval Rotacheck Basic system an important part of cleaning validation.

The Alfa Laval Rotacheck Basic, which is approved to carry the European Hygienic Engineering & Design Group (EHEDG) symbol, is fitted onto the rotary jet head uses an Alfa Laval hygienic tank connection.
A single solution meets the highest international hygiene standards
Despite the great variation in tank capacity, the standard design of the Alfa Laval TJ20G Rotary Jet Head with the Alfa Laval Rotacheck Basic system can be used as a single solution for all tanks. “Using one and the same system is a huge help for stocking spare parts and for service and maintenance of the rotary jet heads,” explains Bruno Schwyzer, Sales Engineer at Alfa Laval. The connection of the Alfa Laval TJ20G Rotary Jet Head and´the fully flushable hygienic tank connection of the Alfa Laval Rotacheck Basic meet the stringent requirements outlined in the international guidelines of the European Hygienic Equipment Design Group (EHEDG). The tank cleaning device and verification system are routinely supplied with an accompanying declaration of conformity, including the material specifications. There are therefore no barriers to exporting the units to Commonwealth of Independent States (CIS) countries.

Effective CIP cycle saves time and water
Just months after the launch of the new CIP setup, the Alfa Laval TJ20G Rotary Jet Head technology has proven to be a worthwhile investment. For example, tank-cleaning costs were reduced by 77%. The indexed pattern of the rotary jet heads and the high-impact cleaning jet ensure that the tank is efficiently cleaned using significantly less water, acid, base, and disinfectant. Additionally, cleaning time has been reduced by up to 50%, resulting in the tanks being available for actual beer production for a longer period of time, thereby securing a higher production output.
“We have found a reliable partner for effective tank cleaning,”
reports Peter Gross, pleased with the cooperation with Alfa Laval. “Working closely with Alfa Laval, we have been able to deliver ultramodern, bespoke tank systems to our customers promptly. They meet, not only our customer’s high demands for their brewery, but also international hygiene standards".
Products
Alfa Laval TJ20G Rotary Jet Head tank-cleaning devices provide exceptional cleanability, better end-product quality, greater overall output and reduced operating costs.
Alfa Laval TJ20G Rotary Jet Head
Rotacheck is an intelligent sensor that during the CIP process validates the proper function of the Toftejorg rotary jet head. It is a proven, reliable method that increases quality assurance in tank cleaning.
Download the full story
Kontakt
Marianne Højby
Marketing Communications Manager, Business Unit Hygienic Fluid HandlingOznake
Sve